欢迎进入台州瑞祺企业管理咨询有限公司官网!

因申请母亲“奥黛丽赫本”商标,兄弟俩打起来了!

作者:瑞祺咨询    来源:未知    发布日期:2019-08-28

世界上有一种性感叫玛丽莲·梦露,有一种优雅叫奥黛丽·赫本。奥黛丽·赫本是好莱坞一颗璀璨的明珠,她留给我们许多经典作品:《罗马假日》、《龙凤配》、《窈窕淑女》……

 
 
 
1993年,奥黛丽·赫本因病逝世,享年63岁。但是她的优雅与美丽,直到今天都令我们难以忘怀。
 
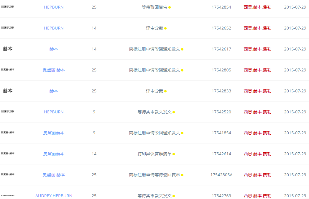
奥黛丽·赫本逝世后,其姓名有关的权利由两个儿子西恩·赫本·费勒和卢卡·多蒂(同母异父)共同管理,卢卡·多蒂同意西恩·赫本·费勒代理其相关权利。
 
 
但是兄弟俩在几件商标的申请上,出现了分歧。
 
这几件商标分别是:
 
指定使用在第9类太阳镜的“赫本”商标▼
 

 

指定使用在第25类手套(服装)的“奥黛丽·赫本”商标▼
 

 

 
指定使用在第14类珠宝首饰的“奥黛丽·赫本珠宝”商标▼
 
 
指定使用在第34类烟草、香烟的“赫本”商标▼
 
 
卢卡·多蒂以西恩·赫本·费勒未经同意注册商标为由,请求对这些商标不予核准注册。知识产权法院批准了他的请求。
 
西恩·赫本·费勒于2018年3月申请复审,考虑到西恩在明知双方共同享有奥黛丽·赫本姓名、肖像等权利的情况下,以个人名义申请这些商标,违背了双方的协议内容,因此不予核准注册
 
除了上述商标,西恩·赫本·费勒还申请过“奥黛丽赫本”、“HEPBURN”、“ AUDREY HEPBURN”、“ AUDREY HEPBURN”“ AUDREY HEPBURN JEWELRY”等等,这些商标不是被驳回了就是被提出了异议。
 
 
不过有几件“EMMA HEPBURN”商标,通过了注册,正在等待注册证发放。
 
 
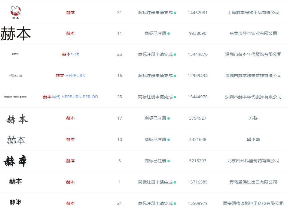
奥黛丽·赫本作为享誉国际的大明星,影响了一代人,其相关商标自然也格外抢手,当前和“奥黛丽·赫本”有关的商标共有482件,已经完成注册的也不少,比如:
 
15716589 号“赫本”商标、第15508979 号“赫本”商标、第14834018 号“赫本女神”商标、第15395721号“爱赫本 IIHEPPEN”商标……
 

 

 
这些商标大多在企业和个体名下,真正掌握在西恩·赫本·费勒、卢卡·多蒂手里的少之又少。
 
自家人搞起了内讧,殊不知其他人早已钻了空子,赫本要是在天有灵估计要气晕。
 
一件商标背后牵涉到很多利益,更何况像“赫本”这样具有国际影响力的人物商标,正因为如此重要,西恩·赫本·费勒和卢卡·多蒂才更应该合力进行保护,如果商标都没了,争来争去还有什么意义。

传 真:0576-89233868 | 咨询热线:0576-89217701 / 188-5769-6611 | E-MAIL:info@reachee.cn

分享给朋友


扫描二维码 关注瑞祺微信