京东和韵达,如果有一天“撕”起来了,你觉得会是因为什么?打死我也想不出是因为商标。
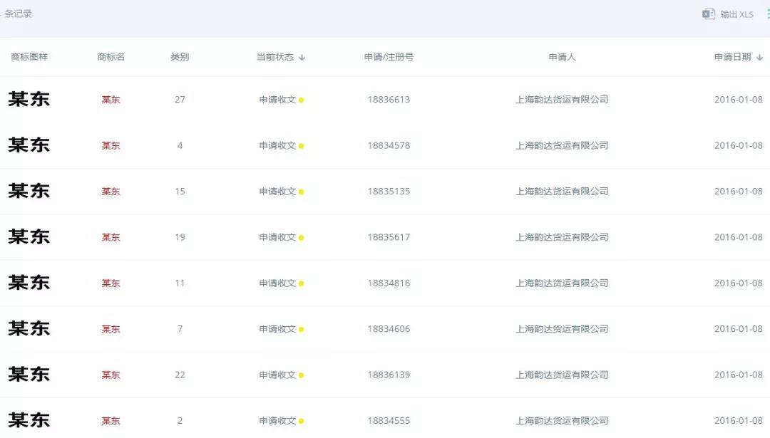
2016年1月份,韵达申请了44件“某东”商标,并且通过了初审了。
虽然这批商标在公告期被提起异议,但还是成功注册了。

有人猜测,提出无效的可能是京东。
京东在2018年7月,对这些商标提出无效宣告。
以第18837916号第35类“某东”商标为例,京东认为该商标与京东字号,及其第13989248、12535070号“京东”商标(引证商标一、二)、第17596835号“京东JD”商标(引证商标三)构成近似,已损害其相关权利。

更有意思的是,京东还指出,韵达不仅注册了“某东”商标,还申请了29件“某宝”商标。

某东、某宝,是广大网友对京东和淘宝的一种间接称谓,使用率颇高。
京东认为韵达有“搭便车”的嫌疑,扰乱了现有的商标注册秩序。
国家知识产权局认为,“某东”与引证商标一、二“京东”、引证商标三显著认读文字“京东”在文字构成、呼叫、视觉效果等方面相近,如果用在同一种或类似服务商会构成混淆,因此予以无效宣告。
据了解,“某宝”商标目前并没有被提出异议或无效宣告,不知道阿里巴巴会不会出手呢?
商标抢注在市场上随处可见,不光是这些巨头,甚至一些网红明星,也会被抢注商标。遇到商标抢注,我们可以在初审阶段提出异议,对于已经注册完成的,可以提出无效宣告请求。
不过要想避免商标被抢注,还是应该从源头下手,趁早保护商标,不给他人任何抢注的机会!
