还记得鲁迅笔下那个穷困潦倒的“孔乙己”吗,他现在可是个大红人,相关商标已经成为“香饽饽”。

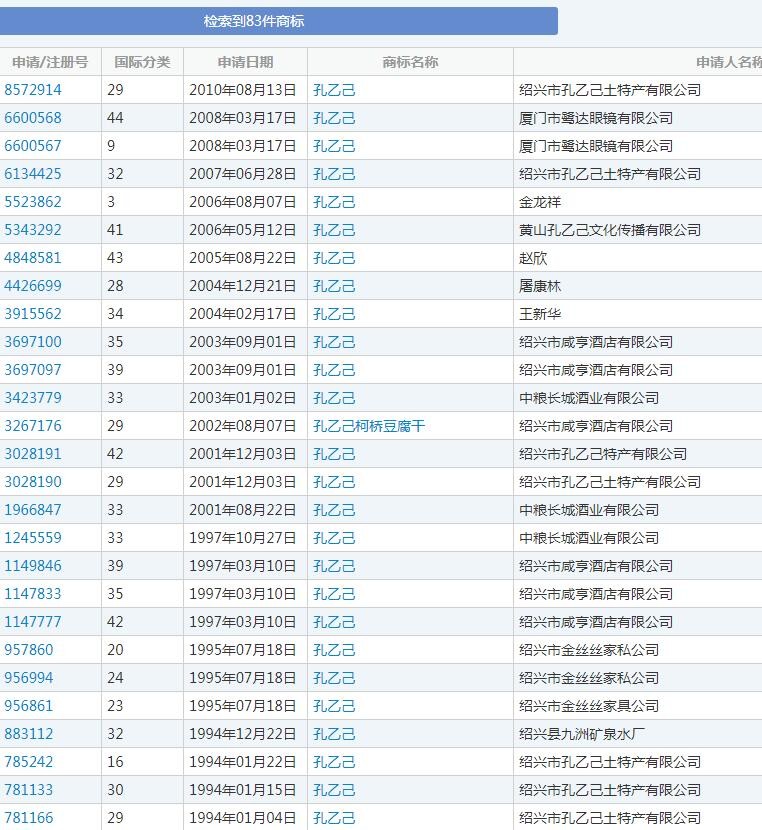
有关“孔乙己”的商标已经被申请了83件,大部分申请人为企业,如:孔乙己土特产有限公司、绍兴市咸亨酒店有限公司、黄山孔乙己文化传播有限公司、深圳市本然投资发展有限公司等。

其中,孔乙己土特产有限公司就申请了17件,涵盖16、21、25、29等多个类目。
孔乙己土特产有限公司主要生产“孔乙己”品牌产品,如茴香豆以及一些文创产品等。

据该公司介绍,他们注册孔乙己商标主要是看重鲁迅笔下的品牌,认为孔乙己文化潜力大,便注册了商标,对开发的孔乙己产品进行保护。
鲁迅笔下其他人物的商标也都被抢注了。
“闰土”有93件▼

“阿Q”也被注册了不少▼

“百草园”有136件▼

“三味书屋”有72件▼

